Автоматическая линия для производства бумажных пакетов CY-400

Описание:
Автоматическая линия для производства бумажных пакетов CY-400 разработана для создания бумажных пакетов. В качестве сырья применяется бумага разной плотности. Станок производит следующие операции: вырубка заготовки из бумажного рулона, формирование пакета, качественное склеивание дна и боковых швов.
Техническое описание автоматической линии для производства бумажных пакетов CY-400:
-Система размотки оснащена пневматическим разжимным валом с пневматической системой опускания и поднятия рулонов.
-Для стабильного натяжения полотна в узле размотки пневматический разжимной вал оснащен магнито-порошковой муфтой управляемой системой PLC –(электронный блок управления машиной). Система позволяет поддерживать заданный параметр натяжения полотна на всех диапазонах скорости работы линии. В системе натяжения полотна реализован широкий диапазон настроек для использования различных материалов.
- Автоматическая система равнения полотна удерживаете материал в заданном поперечном положении, без вмешательства оператора, узел равнения оснащен регулируемым столом равнения материала с датчиками кромки полотна.
- Линия оснащена электронной регулируемой системой протяжки полотна обеспечивающей прохождения материала вдоль всей линии с заданным диапазоном скорости и натяжением материала . В системе протяжки полотна использованы металлические валы с долговечным полиуретановым противоскользящим покрытием, валы протяжки являются приводными с цепным приводом, приводом валов является современный японский сервомотор с обратной связью управляемый системой PLC –(электронный блок управления машиной).
- Механические системы туннельного типа для образования склеиваемого рукава. Линия оснащена необходимой группой механических систем для создания склеиваемого рукава. Механические направляющие имеют широкий диапазон настраиваемых положений, что позволяет настраивать тоннель с высокой эластичностью для различных типов материалов. Металлические направляющие тоннеля с высокой частотой обработки для лучшего скольжения материала.

- Устройство склейки швов. В линии реализована автоматическая подача клея для формирования шва. Оператору линии необходимо только заливать клей в специализированную ванночку и перед началом работы настроить объём подачи клея в склеиваемый шов, всё остальное машина сделает сама. В ванночке с клеем реализована система размешивания клея.
- В линии присутствует устройство перфорации материала. Устройство настраивается вручную. Обладает широким диапазоном настроек.
-Система резки пакетиков в линии автоматическая и требует настройки только перед началом работы. Автоматический контроль резки отслеживает датчик материала, что обеспечивает высокую точность заданных параметров.
- Стол приёма готовых пакетов оснащен регулируемой площадкой для удобной фиксации готовых пакетов.
-Линия оснащена сенсорным экраном управления с удобным интуитивным графическим интерфейсом, позволяющим оператору максимально быстро настраивать линию.


Комплектация автоматической линии для производства бумажных пакетов CY-400:
|
1.
|
Система размотки материала
|
1шт.
|
|
2.
|
Автоматический стол равнения полотна
|
1шт.
|
|
3.
|
Автоматическая система склейки швов
|
2шт.
|
|
4.
|
Механические система туннельного типа
|
1 ком.
|
|
5.
|
Автоматизированная система натяжения полотна
|
1шт.
|
|
6.
|
Устройство перфорации материала
|
1шт.
|
|
7.
|
Система резки пакетов
|
1шт.
|
|
8.
|
Общая станина линии
|
1шт.
|
|
9.
|
Стол приёма готовой продукции
|
1шт.
|
|
10.
|
Сенсорный экран управления линией
|
1шт.
|

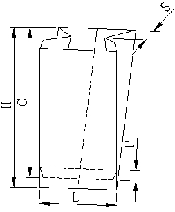
Технические характеристики автоматической линии для производства бумажных пакетов CY-400:
|
1.
|
Ширина изготавливаемых пакетов (L)
|
70-280 мм
|

|
|
2.
|
Длина изготавливаемых пакетов (H)
|
140-450 мм
|
|
3.
|
Высота складывания (P)
|
12-20 мм
|
|
4.
|
Длина резки (C)
|
150-460 мм
|
|
5.
|
Глубина фальцовки (S)
|
0- 50 мм
|
|
6.
|
Производительность линии
|
450 шт/мин
|
|
7.
|
Максимальный диаметр рулона
|
1020 мм
|
|
8.
|
Максимальный вес рулона
|
420 кг
|
|
9.
|
Диаметр втулки рулонов
|
76 мм
|
|
10.
|
Полный вес линии
|
3500 кг
|
|
11.
|
Габаритные размеры
|
3600х1720х2100 мм
|
|
12.
|
Максимальная мощность
|
7 кВт
|
|
13.
|
Требования к сжатому воздуху
|
6 атм
|
|
14.
|
Требования к электрическому питанию
|
380v 50Hz
|

Используемые комплектующие для автоматической линии производства бумажных пакетов CY-400:
1. Датчик выравнивания полотна от компании SIСK (Германия).
2. Тормозная муфта от компании Montalvo (Германия).
3. Контролер управления линией PLC от компании Delta (Тайвань).
4. Сенсорная панель управления линией от компании WEINVIEW (Тайвань).
5. Система натяжения полотна от компании Montalvo (Германия).
6. Серво двигатели с обратной связью от компании YASKAWA ( Япония).
7. Пневматические компоненты от компании Air Tac (Китай).
8. Используемые подшипники в узлах линии от компании FKL (Китай).
9. Инструкция по эксплуатации линии на Русском и Английском языке.
СРОК ИЗГОТОВЛЕНИЯ
Срок изготовления оборудования составляет 35 рабочих дней после уточнения всех технических деталей и с момента получения предоплаты.
ГАРАНТИЙНЫЕ ОБЯЗАТЕЛЬСТВА
Гарантийный срок составляет 12 месяцев.
УСЛОВИЯ ПРОДАЖИ:
1. 50% - предоплата.
2. 50% - по готовности оборудования к отгрузке.
МОНТАЖ ОБОРУДОВАНИЯ:
Монтаж и запуск оборудования в эксплуатацию производится уполномоченными сервис-инженерами компании. «УРАФЛЕКС». Длительность монтажных работ — два рабочих дня. После монтажа производятся тестовые испытания на материалах Заказчика.

Екафлекс © Все права защищены. Дата публикации: 06-06-2018 (2278 прочтений) [ Вернуться назад ] |